TUCSON(LM) >2010 > G 2.0 DOHC > Steering System > Electric Power Steering > Steering Gear box>Repair procedures  
Replacement
1.
Remove the front wheel & tire.

Tightening torque :
88.3 ~ 107.9N.m(9.0 ~ 11.0Kgf.m, 65.1 ~ 79.6lb-ft)

Be careful not to damage to the hub bolts when removing the front wheel & tire.
2.
Disconnect the stabilizer link(B) with the front strut assembly(A) after loosening the nut.

Tightening torque :
98.1 ~ 117.7N.m(10.0 ~ 12.0Kgf.m, 72.3 ~ 86.8lb-ft)

3.
Remove the sprit pin and castle nut and then disconnect the tie-rod end(A) from the front knuckle.

Tightening torque :
34.3 ~ 44.1N.m(3.5 ~ 4.5Kgf.m, 25.3 ~ 32.5lb-ft)

4.
Loosen the bolt & nut and then remove the lower arm(A).

Tightening torque :
98.1 ~ 117.7N.m(10.0 ~ 12.0Kgf.m, 72.3 ~ 86.8lb-ft)

5.
Loosen the nut and then remove the dust cover(A).

6.
Loosen the bolt (A) and then disconnect the universal joint assembly from the pinion of the steering gear box.

Tightening torque :
29.4 ~ 34.3N.m(3.0 ~ 3.5Kgf.m, 21.7 ~ 25.3lb-ft)

Lock the steering wheel in the straight ahead position to prevent the damage of the clock spring inner cable when you handle the steering wheel.
7.
Loosen the bolt(A) & nut(B) and then remove the roll rod stopper.

Tightening torque :
107.9 ~ 127.5N.m(11.0 ~ 13.0Kgf.m, 79.6 ~ 94.0lb-ft)

8.
Disconnect the muffler rubber hanger(A).

9.
Loosen the bolts & nuts and then remove the sub frame.

Tightening torque :
176.5 ~ 196.1N.m(18.0 ~ 20.0Kgf.m, 130.2 ~ 144.7lb-ft)

10.
Loosen the bolt & nut and then remove the protactor(A).

11.
Loosen the bolt and then remove the stabilizer (A) from the sub frame.

Tightening torque :
44.1 ~ 53.9N.m(4.5 ~ 5.5Kgf.m, 32.5 ~ 39.8lb-ft)

12.
Loosen the bolt and then remove the steering gearbox(A).

Tightening torque :
58.8 ~ 78.5N.m(6.0 ~ 8.0Kgf.m, 43.4 ~ 57.9lb-ft)

13.
Installation is the reverse of the removal.
14.
Check the alignment. (Refer to SS group 'Tires/Wheels - alingment')
Disassembly
1.
Fix the steering gear box assembly (A) on the vice.

2.
Remove the bellows clip (A) in the direction of the arrow. (The left and right same work.)

3.
Give space to bellows bend (B) by using the ring pliers (A). (The left and right same work)

4.
After making the space to the bellows and tie-rod end contact part by using the (-) driver, remove the bellows (A) in the direction of the arrow.(The left and right same work)

5.
Remove the tie-rod & tie-rod end assembly (A).(The left and right same work)

6.
After fixing the yoke plug (A), remove the rock nut (B).

7.
Remove the yoke plug (A).

8.
Remove the yoke spring (A) and leaf spring (B).
Note that there may be urethane pads or back side of O-ring in place of leaf spring.
The number of leaf spring can be differs from depending on vehicle.

9.
Remove the support yoke assembly (A) from the inner lack hosing.
In case of support yoke assembly (A), the number and availability of O-ring can differ from depending on vehicle.

10.
Remove the dust packing & cap (A).

11.
Remove the top plug (A) by using the spanner.
When removing the top plug, top plug is made of aluminum, so be careful to avoid distortion.

12.
Remove the pinion assembly (A).

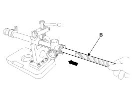
13.
Remove the rack bar (A) in the direction of the arrow.

Reassembly
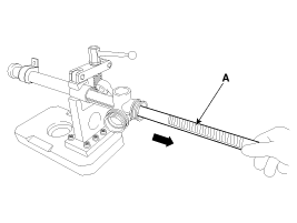
1.
After spreading grease on the rack bar gear part (A), install rack bar (B) in the direction of the arrow.
When inserting the rack bar, be careful not to damage to inner rack housing.

2.
After spreading grease on the pinion gear part, install the pinion assembly (A).

3.
After spreading three bond (Loctite) on the top plug (A) thread, install the top plug by using the spanner.
When installing the top plug, top plug is made of aluminum, so be careful to avoid distortion.

4.
Install the dust packing & cap (A).

5.
Install the support yoke (A).
Before installing the support yoke assembly, make sure to whether the O-ring damage.

6.
Install the Yoke plug (A) and leaf spring (B).
The number of leaf spring can differ from depending on vehicle, pay attention to direction.
Direction of leaf spring

7.
After spreading three bond (Loctite) on the Yoke plug (A) thread, install the Yoke plug.

8.
Adjust Yoke with reference to the “How to adjust Yoke”.(Refer to "Steering gear box(Adjustment)" in ST group)
9.
After fixing the yoke plug, install the rock nut (A).

10.
Install the tie-rod & tie-rod end assembly (A). (The left and right same work)

11.
Caulk (A) the rack bar and tie-rod assembly joints. (The left and right same work)
When you doing caulking, use the air tool or chisel.

12.
After spreading sealant on the rack hosing and the bellow joints (A), install the bellows (B) in the direction of the arrow.

Inspection
1.
Rack bar
A.
Check the rack gear for damage.
B.
Check the rack bar for bend and deformation.

2.
Pinion assembly
A.
Check the pinion gear for damage
B.
Check the oil seal for damage.
3.
Check the inside of rack housing for damage.
4.
Check the bellows for being torn.