TUCSON(LM) >2010 > G 2.0 DOHC > Body (Interior and Exterior) > Seat & Power Seat > Rear Seat>Repair procedures  
Replacement
Seat Assembly Replacement
1.
After loosening the mounting bolts, then remove the rear seat back assembly (A).

Tightening torque :
44.1 ~ 58.8 N.m (4.5 ~ 6.0 kgf.m, 32.5 ~ 43.4 lb-ft)

2.
Disconnect the connector (A), then remove the rear seat cushion assembly.

3.
Installation is the reverse of removal.
Seat mounting bolt and nut installation procedure.
Tighten temporarily in the order of nut and bolt on the front of recliner hinge installation part.
After completely tightening completely the bolt on the back of the recliner hinge installaion part, tighten the bolt on the front of it completely.
Setting down the seat cushion, tighten the mounting bolt of the cushion frame hinge.
Check if reclining the seat and folding seat back operate smoothly.
Seat Back Cover Replacement [RH]
1.
Push the lock pin (B), and then remove the headrest (A).

2.
After loosening the mounting screw, then remove the rear bag hook (A).
3.
Using a screwdriver or remover, remove the tether anchor garnish (B).

4.
Using a long nose, remove the rock pin (B) and armrest (A).

5.
Using a screwdriver or remover, remove the upper bezel (A).

6.
Zip off the seat back cover (A), and then full it up.

7.
Remove the hogring clips (A) and screw.

8.
Disonnect the hook (B).

9.
Pull out the headrest guides (A) while pinching the end of the guides, and remove them.

10.
Disconnect the seat back cover (A) from the seat back frame (B).

11.
Disconnect the hogring clips (B) on the front of seat back, remove the seat back cover (A).

12.
Installation is the reverse of removal.
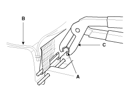
To prevent wrinkles, make sure the material is stretched evenly over the cover (B) before securing the hogring clips (A).
Replace the hogring clips with new ones using special tool [C (09880-4F000)].

Seat Cushion Cover Replacement
1.
Remove the seat back cushion cover.
2.
Pull out the hogring clips on the front of seat cushion, remove the seat cushion cover (A).

3.
Installation is the reverse of removal.
To prevent wrinkles, make sure the material is stretched evenly over the cover (B) before securing the hogring clips (A).
Replace the hogring clips with new ones using special tool [C (09880-4F000)].

Seat Back Cover Replacement [LH]
1.
Push the lock pin (B), and then remove then headrest (A).

2.
Using a screwdriver or remover, remove the tether anchor garnish (A).

3.
zip off the seat back cover (A), and then full it up.

4.
Remove the hogring clips (A).

5.
Disonnect the hook (B).

6.
Pull out the headrest guides (A) while pinching the end of the guides, and remove them.

7.
Disconnect the seat back cover from the seat back frame.
8.
Disconnect the hogring clips (B) on the front of seat back, remove the seat back cover (A).

9.
Installation is the reverse of removal.
To prevent wrinkles, make sure the material is stretched evenly over the cover (B) before securing the hogring clips (A).
Replace the hogring clips with new ones using special tool [C (09880-4F000)].