| 1. |
Loosen the wheel nuts slightly.
Raise the vehicle, and make sure it is
securely supported. |
| 2. |
Remove the front wheel and tire (A) from front
hub.
Tightening
torque :
88.2 ~ 107.8 N.m(9.0 ~ 11.0 Kgf.m , 65.0
~ 79.5 Ib.ft)
|

|
Be careful not to damage to the hub
bolts when removing the front wheel and tire
(A). | |
| 3. |
Remove the brake caliper mounting bolts, and
then place the brake caliper assembly (B) with wire.
Tightening
torque :
78.4 ~ 98.0N.m(8.0 ~ 10.0Kgf.m, 57.8 ~
72.3lb.ft)
|

|
| 4. |
Remove castle nut (A) from the front hub under
applying the break.
Tightening
torque :
196.1 ~ 274.5N.m(20.0 ~ 28.0Kgf.m, 144.6
~ 202.5lb.ft)
|

|
The washer (B) should be assembled with
convex surface outward when installing the castle nut (A) and
split pin (C) Also, don't reuse split pin (C) when
reassembling. |

|
| 5. |
Remove the wheel speed sensor
(B).
Tightening
torque :
6.8 ~ 10.8N.m( 0.7 ~ 1.1Kgf.m,5.1 ~
7.9lb.ft)
|

|
| 6. |
Remove the tie rod end ball joint(C) from the
knuckle.
| (1) |
Remove the split pin
(A). |
| (2) |
Remove the castle nut (B).
Tightening torque :
34.3 ~ 44.1N.m(3.5 ~ 4.5Kgf.m,
25.3 ~ 32.5 lb.ft)
|

|
Apply a few drops of oil to the
special tool. (Boot contact
part) | | |
| 7. |
Remove the lower arm (A) mounting bolt from
the knuckle.
Tightening
torque :
98.0 ~ 117.6N.m( 10.0 ~ 12.0Kgf.m,72.3 ~
86.7lb.ft)
|

|
| 8. |
Disconnect the drive shaft end (A) from the
knuckle.

|
| 9. |
Remove the driveshaft assembly (A) from the
inner shaft.

|
| 10. |
Inner shaft mounting bolts and then disconnect
the inner shaft (A).

|
| 11. |
Insert a pry bar (A) between the transaxle
case and joint case , and separate the driveshaft (B) from the
transaxle case.

|
| 12. |
Install in the reverse order of
removal.
| •
|
Use a pry bar (A) being careful
not to damage the transaxle and
joint. |
| •
|
Do not insert the pry bar(A) too
deep, as this may cause damage to the oil
seal. |
| •
|
Do not pull the driveshaft by
excessive force it may cause components inside the joint
kit to dislodge resulting in a torn boot or a damaged
bearing. |
| •
|
Plug the hole of the transaxle
case with the oil seal cap to prevent
contamination. |
| •
|
Support the driveshaft
properly. |
| •
|
Replace the retainer ring whenever
the driveshaft is removed from the transaxle
case. | | |
| 13. |
Check the alignment. (Refer to SSgroup
'Tires/Wheels - alingment') |
| 1. |
Check the driveshaft boots for damage and
deterioration. |
| 2. |
Check the ball joint for wear and
damage. |
| 3. |
Check the splines for wear and
damage. |
| 4. |
Check the dynamic damper for cracks, wear and
position.

|
| 5. |
Check the driveshaft for cracks and
wears. |
| •
|
Do not disassemble the BJ
assembly. |
| •
|
Special grease must be applied to the
driveshaft joint. Do not substitute with another type of
grease. |
| •
|
The boot band should be replaced with a
new one. | |
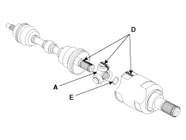
| 1. |
Remove the circlip (B) from driveshaft splines
(A) of the transaxle side VTJ case.

|
| 2. |
Remove the both boot clamps from the transaxle
side VTJ case. Using a flat-tipped (-) screwdriver, remove the both
clamps of the transaxle side.

|
| 3. |
Pull out the boot from the transaxle side
joint (VTJ). |
| 4. |
While dividing joint boot (A) of the transaxle
side, wipe the grease in VTJ case (B) and collect them
respectively.

| -
|
Be careful not to damage the
boot. |
| -
|
According to below the
illustrated, put marks (D) on roller of spider assembly
(A), VTJ case (B) and spline part (C), for providing
assembly. | |

|
| 5. |
Using a snap ring plier or flat-tipped (-)
screwdriver, remove the circlip (A).

|
| 6. |
Remove the spider assembly (B) from the
driveshaft (A) using the special tool (09495-33000).

|
| 7. |
Clean the spider
assembly. |
| 8. |
Remove the boot (A) of the transaxle side
joint (VTJ).
|
For reusing the boot (A), wrap tape (B)
around the driveshaft splines (C) to protect the boot
(A). |

|
| 9. |
Using a plier or flat-tipped (-) screwdriver,
remove the clamp (B) of the dynamic damper (A).

|
| 10. |
Fix the driveshaft (A) with a vice (B) as
illustrated.

|
| 11. |
Apply soap powder on the shaft to prevent
being damaged between the shaft spline and the dynamic damper when
the dynamic damper is removed. |
| 12. |
Saperate the dynamic damper (A) from the shaft
(B) carefully.

|
| 13. |
Using a plier or flat-tipped (-) screwdriver,
remove the clamp on the side of wheel.

|
| 14. |
Pull out the joint(BJ) on the side of wheel
into the transaxle direction. Be careful not to damage the
boot. |
| 1. |
Wrap tape around the driveshaft splines (VTJ.
side) to prevent damage to the
boots. |
| 2. |
Apply grease to the driveshaft and install the
BJ boots. |
| 3. |
Install the bands to both BJ
boots.

|
| 4. |
To reassemble the dynamic damper (A), keeping
the shaft (B) in the straight, tighten the dynamic damper (A) with
dynamic damper band (C), as the illustration.

|
| 5. |
Install the VTJ boot bands and VTJ
boot. |
| 6. |
Install the spider assembly (A) and the
circlip (E) to the spline (C) on the driveshaft.
At this time align the marks (D) each
other.


|
| 7. |
Install the clip to the VTJ case
(B). |
| 8. |
Add the specified grease to the VTJ as mush as
wiped away at inspection. |
| 9. |
Install the VTJ
boots. |
| 10. |
Install the bands to both VTJ
boots. |
| 11. |
Using the SST(09495-3K000), secure the boot
bands.
Clearance (A)
: 2.0 mm (0.079 in.) or
less
|

|
| 12. |
To control the air in the VTJ boot, keep the
specified distance between the boot bands when they are
tightened.
Distance
(A)
|
LH side
|
RH side
|
Gasoline 2.0/2.4 AT 2WD(mm)
|
536.6 +26.8/-20.2
|
827.5 +26.8/-20.2
|
Gasoline 2.0/2.4 AT 4WD(mm)
|
536.6 +26.8/-20.2
|
511.4 +26.8/-20.2
|
Gasoline 2.0 MT 2WD(mm)
|
557.9 +26.8/-20.2
|
839.7 +26.8/-20.2
|
Gasoline 2.0 MT 4WD(mm)
|
511.4 +26.8/-20.2
|
Gasoline 2.4 MT 2WD(mm)
|
542.0 +26.8/-20.2
|
855.4 +26.8/-20.2
|
Gasoline 2.4 MT 4WD(mm)
|
511.4 +26.8/-20.2
|

| |