TUCSON(LM) >2011 > G 2.0 DOHC > Driveshaft and axle > Rear Driveshaft Assembly > Rear Driveshaft>Repair procedures  
Replacement
1.
Loosen the wheel nuts slightly.
Raise the vehicle, and make sure it is securely supported.
2.
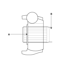
Remove the rear wheel and tire (A) from rear hub.

Tightening torque :
88.2 ~ 07.8 N.m(9.0 ~ 11.0 Kgf.m , 65.0 ~ 79.5 Ib.ft)

Be careful not to damage to the hub bolts when removing the rear wheel and tire (A).
3.
Remove the brake caliper mounting bolts , and then place the brake caliper assembly (B) with wire.

Tightening torque :
78.4 ~ 98.0N.m(8.0 ~ 10.0Kgf.m, 57.8 ~ 72.3lb.ft)

4.
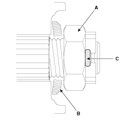
Remove castle nut (A) from the front hub under applying the break.

Tightening torque :
196.1 ~ 274.5N.m(20.0 ~ 28.0Kgf.m, 144.6 ~ 202.5lb.ft)

The washer (B) should be assembled with convex surface outward when installing the castle nut (A) and split pin (C) Also, don't reuse split pin (C) when reassembling.

5.
Remove the rear brake lining assembly (A).(Refer to BR group-Rear brake)

6.
Remove the parking brake cable (B) from the brake shoe (A).

7.
Remove the parking brake cable retaining (B), from the parking brake cabel (A).

8.
Remove the wheel speed sensor (A), from the knuckle.

Tightening torque :
6.8 ~ 10.8N.m(0.7 ~ 1.1Kgf.m, 5.1 ~ 7.9lb.ft)

9.
Remove the assist arm (A) from the rear axle carrier.

Tightening torque :
137.2 ~ 156.9N.m(14.0 ~ 16.0Kgf.m, 101.2 ~ 115.7 lb.ft)

10.
Remove the trailing arm (B) from the rear axle carrier.

Tightening torque :
34.3 ~ 53.9N.m(3.5 ~ 5.5Kgf.m, 25.3 ~ 39.7lb.ft)

11.
Remove the upper arm (A) from the rear axle carrier.

Tightening torque :
98.0 ~ 117.6N.m(10.0 ~ 12.0Kgf.m, 72.3 ~ 86.7lb.ft)

12.
Push the rear axle carrier outward and separate the driveshaft (A) from the axle hub.

13.
Insert a pry bar (A) between the differential case and joint case, and separate the driveshaft (B) from the differential case.

Use a pry bar (A) being careful not to damage the differential and joint.
Do not insert the pry bar (A) too deep, as this may cause damage to the oil seal.
Do not pull the driveshaft by excessive force it may cause components inside the joint kit to dislodge resulting in a torn boot or a damaged bearing.
Plug the hole of the differential case with the oil seal cap to prevent contamination.
Support the driveshaft properly.
Replace the retainer ring whenever the driveshaft is removed from the differential case.
14.
Install the rear wheel & tire.
15.
Check the alignment. (Refer to SSgroup 'Tires/Wheels - alingment')
Inspection
1.
Check the driveshaft boots for damage and deterioration.
2.
Check the ball joint for wear and damage.
3.
Check the splines for wear and damage.

4.
Check the driveshaft for cracks and wears.
5.
Check the TJ outer race, inner race, cage and balls for rust or damage.
6.
Check for water, foreign matter, or rust in the BJ boot.
When the BJ assembly (A) is to be reused, do not wipe away the grease.
Check that there are no foreign substances in the grease. If necessary, clean the BJ assembly (A) and replace grease.

Disassembly
Do not disassemble the BJ assembly.
Special grease must be applied to the driveshaft joint. Do not substitute with another type of grease.
The boot band should be replaced with a new one.
1.
Remove the TJ boot bands and pull the TJ boot from the TJ outer race.
(1)
Using a pliers or flat-tipped (-) screwdriver, remove the LH boot band and LH TJ boot band from the driveshaft.
(2)
Remove RH boot band and RH TJ boot band in the same way of LH removal procedure.
Be careful not to damage the boot.
2.
Pull out the driveshaft from the TJ outer race.
3.
Remove the snap ring (A) and take out the inner race(B), cage(C) and balls(D) as an assembly.

4.
Clean the inner race, cage and balls without disassembling.
5.
Remove the BJ boot bands and pull out the TJ boot and BJ boot.
If the boot (A) is to be reused, wrap tape(B) around the driveshaft splines(C) to protect the boot (A).

Reassembly
1.
Wrap tape around the driveshaft splines (TJ side ) to prevent damage to the boots.
2.
Apply grease to the driveshaft and install the boots.
3.
Apply the specified grease to the inner race (A) and cage (B). Install the cage (B) so that it is offset on the race as shown.
Use the grease included in the repair kit.

4.
Apply the specified grease to the cage and fit the balls into the cage.
5.
Position the chamfered side (A) as shown in the illustration. Install the inner race on the driveshaft(B), and then the snap ring.

6.
Apply the specified grease to the outer race and install the BJ outer race onto the driveshaft.
7.
Apply the specified grease into the TJ boot and install the boot with a clip.
8.
Tighten the TJ boot bands.
9.
Add the specified grease to the BJ as much as wiped away at inspection.
10.
Install the boots.
11.
Tighten the BJ boot bands.
12.
To control the air in the TJ boot, keep the specified distance between the boot bands when they are tightened.
Distance (mm)
LH
RH
ALL
699.5
+22.8/-19.3
680.3
+22.8/-19.3