Seat Assembly Replacement
| 1. |
Remove the seat mounting
cover. |
| 2. |
After loosening the seat assembly mounting
bolts, remove the seat assembly (A).
Tightening
torque :
44.1 ~ 58.8N.m (4.5 ~ 6.0kgf.m,
32.5~43.4lb-ft)
|

|
| 3. |
Disconnect the connector (A), and wirering
(B).

|
| 4. |
Installation is the reverse of
removal.
| •
|
Be sure to perform PODS re-zero
with the GDS after replacing parts (passenger's) (Refer
to page
RT-Airbag) | |
|
SEAT MOUNTING BOLT INSTALLATION
PROCEDURE
| •
|
Set the into the most rearward
position. Check then each slide is locked, and then
Tighten the front mounting bolt
temporarily. |
| •
|
Set the seat into most forward
position. Check that each slide is locked, and then
Tighten the rear mounting bolt
completely. |
| •
|
Set the seat into the most
rearward position. Check the front mounting bolt
completely. |
| •
|
Check that the seat operates to
and fro smoothy and the locking portion locks
properly. | | |
Shield Cover Replacement
| 1. |
Remove the silde switch (A) and recliner
switch (B).

|
| 2. |
Using a screwdriver, remove the front shield
cover (A).

|
| 3. |
Using a screwdriver, remove the shield cover
(A).

|
| 4. |
Disconnect the connector (A).

|
| 5. |
Installation is the reverse of
removal.
| •
|
Be sure to perform PODS re-zero
with the GDS after replacing parts (passenger's) (Refer
to page
RT-Airbag) | | |
Seat Back Replacement
| •
|
Replace the seat back assembly if active
head rest system is
equipped. | |
| 1. |
Remove the front seat
assembly. |
| 3. |
Push the clips (B) from the seat back cover
(A).
| •
|
Push the middle area of clip using
the flat head
screwdriver. |
| •
|
Be careful not to damage the
clip. | |

|
| 4. |
Push the hooks (A), from the seat back
frame.

|
| 5. |
Disconnect the connector (A) mounting
clip.

|
| 6. |
Pull out the headrest guides (A) while
pinching the end of the guides, and remove them.

|
| 7. |
Remove the seat back from the
frame. |
| 8. |
After removing the hogring clips (B) on the
front of seat back and remove the seat back cover (A).

|
| 9. |
Installation is the reverse of
removal.
| •
|
To prevent wrinkles, make sure the
material is stretched evenly over the cover (B) before
securing the hogring clips
(A). |
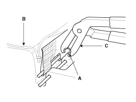
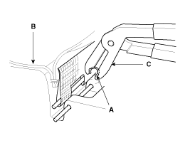
| •
|
Replace the hogring clips with new
ones using special tool (C)
(09880-4F000). | |

| •
|
Be sure to perform PODS re-zero
with the GDS after replacing parts (passenger's) (Refer
to page
RT-Airbag) | | |
Seat Cushion Cover Replacement
| 1. |
Remove front seat
assembly. |
| 2. |
Remove the shield cover.
|
| 3. |
Push the hook (A), remove the seat cushion
(C).

|
| 4. |
Disconnect the connector (A).

|
| 5. |
After removing the hogring clip (B) on the
front of seat cushion and remove the seat cushion cover
(A).
| •
|
When removing the hog-ring clip,
remove the hog-ring clip with pressing the wire not to
separate the wire from the
sponge. | |

|
| 6. |
Installation is the reverse of
removal.
| •
|
To prevent wrinkles, make sure the
material is stretched evenly over the cover (B) before
securing the hogring clips
(A). |
| •
|
Replace the hogring clips with new
ones using special tool (C)
(09880-4F000). | |

| •
|
Be sure to perform PODS re-zero
with the GDS after replacing parts (passenger's) (Refer
to page
RT-Airbag) | | |
Seat Frame Replacement
| 1. |
Remove the following items:
|
| 2. |
After loosening the mounting screw, then
remove the front inside shield cover (A).

|
| 3. |
After loosening the mounting bolts, then
disconnect the seat back frame (A) and seat cushion frame
(B).
| •
|
Remove the side air bag for
replacing side air bag installation
seat. |
| •
|
Before service, be fully aware of
precautions and service procedure relevant to air bag
(Refer to page
RT-Airbag) | |
Tightening
torque :
44.1 ~ 58.8 N.m (4.5 ~ 6.0 kgf.m, 32.5 ~
43.4 lb-ft)
|

|
| 4. |
Installation is the reverse of
removal.
| •
|
Be sure to perform PODS re-zero
with the GDS after replacing parts (passenger's) (Refer
to page
RT-Airbag) | | |