| 1. |
Loosen the wheel nuts slightly.
Raise the vehicle, and make sure it is
securely supported. |
| 2. |
Remove the front wheel and tire (A) from front
hub.
Tightening
torque :
88.2 ~ 107.8 N.m(9.0 ~ 11.0 Kgf.m, 65.0
~ 79.5 Ib.ft)
|

|
Be careful not to damage to the hub
bolts when removing the front wheel and tire
(A). | |
| 3. |
Remove the brake caliper mounting bolts, and
then place the brake caliper assembly (B) with wire.
Tightening
torque :
78.4 ~ 98.0N.m(8.0 ~ 10.0Kgf.m, 57.8 ~
72.3lb.ft)
|

|
| 4. |
Remove castle nut (A) from the front hub under
applying the break.
Tightening
torque :
196.1 ~ 274.5N.m(20.0 ~ 28.0 Kgf.m,
144.6 ~ 202.5 lb.ft)
|

|
The washer (B) should be assembled with
convex surface outward when installing the castle nut (A) and
split pin (C) Also, don't reuse split pin (C) when
reassembling. |

|
| 5. |
Remove the wheel speed sensor
(B).
Tightening
torque :
6.8 ~ 10.8N.m( 0.7 ~ 1.1Kgf.m,5.1 ~
7.9lb.ft)
|

|
| 6. |
Remove the tie rod end ball joint(C) from the
knuckle.
| (1) |
Remove the split pin
(A). |
| (2) |
Remove the castle nut (B).
Tightening torque :
34.3 ~ 44.1 N.m(3.5 ~ 4.5 Kgf.m,
25.3 ~ 32.5 lb.ft)
|

| |
| 7. |
Remove the lower arm (A) mounting bolt from
the knuckle.
Tightening
torque :
98.0 ~ 117.6 N.m( 10.0 ~ 12.0 Kgf.m,
72.3 ~ 86.7lb.ft)
|

|
| 8. |
Disconnect the drive shaft end (A) from the
knuckle.

|
| 9. |
Loosen the strut mounting bolts and then
remove the hub and knuckle assembly
(A). |
Tightening torque
:
137.2 ~ 156.9 N.m(14.0 ~ 16.0 Kgf.m, 101.2 ~
115.7 Ib.ft)
|

|
Be careful not to damage the boot and rotor
teeth. |
| 1. |
Install in the reverse order of
removal. |
| 2. |
Check the alignment. (Refer to SSgroup
'Tires/Wheels - alingment') |
| 1. |
Check the hub for cracks and the splines for
wear. |
| 2. |
Check the brake disc for scoring and
damage. |
| 3. |
Check the knuckle for
cracks |
| 4. |
Check the bearing for cracks or
damage. |
| 1. |
Using the snap ring pliers, remove the snap
ring (A).

|
| 2. |
Remove the hub assembly from the knuckle
assembly.
| (1) |
Install the front knuckle assembly (A)
on press. |
| (2) |
Lay a suitable adapter (B) upon the hub
assembly shaft.

| |
| 3. |
Remove the dust cover (A).

|
| 4. |
Remove the hub bearing inner race from the hub
assembly
| (1) |
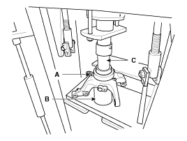
Install a suitable tool (A) for removing
the hub bearing inner race on the hub
assembly. |
| (2) |
Lay the hub assembly and tool (A) upon a
suitable adapter (B). |
| (3) |
Lay a suitable adapter (C) upon the hub
assembly shaft. |
| (4) |
Remove the hub bearing inner race (D)
from the hub assembly by using press.

| |
| 5. |
Remove the hub bearing outer race from the
knuckle assembly.
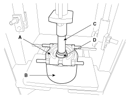
| (1) |
Lay the hub assembly (A) upon a suitable
adapter (B). |
| (2) |
Lay a suitable adapter (C) upon the hub
bearing outer race. |
| (3) |
Remove the hub bearing outer race from
the knuckle assembly by using press.

| |
| 6. |
Replace hub bearing with a new
one. |
| 1. |
Install the dust cover (A).

|
| 2. |
Install the hub bearing to the knuckle
assembly.
| (1) |
Lay the knuckle assembly (A) on
press. |
| (2) |
Lay a new hub bearing upon the knuckle
assembly (A). |
| (3) |
Lay a suitable adapter (B) upon the hub
bearing. |
| (4) |
Install the hub bearing to the knuckle
assembly by using press.

|
Do not press against the inner
race of the hub bearing because that can cause damage to
the bearing assembly.
Always use a new wheel bearing
assembly. | | |
| 3. |
Install the hub assembly to the knuckle
assembly.
| (1) |
Lay the hub assembly (A) upon a suitable
adapter (B). |
| (2) |
Lay the knuckle assembly (C) upon the
hub assembly (A). |
| (3) |
Lay a suitable adapter (D) upon the hub
bearing. |
| (4) |
Install the hub assembly (A) to the
knuckle assembly (C) by using press.

|
Do not press against the inner
race of the hub bearing because that can cause damage to
the bearing
assembly. | | |
| 4. |
Install the snap ring (A).

| |