TUCSON(LM) >2010 > G 2.4 DOHC > Driveshaft and axle > Driveshaft Assembly > Front Driveshaft>Repair procedures  
Replacement
1.
Loosen the wheel nuts slightly.
Raise the vehicle, and make sure it is securely supported.
2.
Remove the front wheel and tire (A) from front hub.

Tightening torque :
88.2 ~ 107.8 N.m(9.0 ~ 11.0 Kgf.m , 65.0 ~ 79.5 Ib.ft)

Be careful not to damage to the hub bolts when removing the front wheel and tire (A).
3.
Remove the brake caliper mounting bolts, and then place the brake caliper assembly (B) with wire.

Tightening torque :
78.4 ~ 98.0N.m(8.0 ~ 10.0Kgf.m, 57.8 ~ 72.3lb.ft)

4.
Remove castle nut (A) from the front hub under applying the break.

Tightening torque :
196.1 ~ 274.5N.m(20.0 ~ 28.0Kgf.m, 144.6 ~ 202.5lb.ft)

The washer (B) should be assembled with convex surface outward when installing the castle nut (A) and split pin (C) Also, don't reuse split pin (C) when reassembling.

5.
Remove the wheel speed sensor (B).

Tightening torque :
6.8 ~ 10.8N.m( 0.7 ~ 1.1Kgf.m,5.1 ~ 7.9lb.ft)

6.
Remove the tie rod end ball joint(C) from the knuckle.
(1)
Remove the split pin (A).
(2)
Remove the castle nut (B).

Tightening torque :
34.3 ~ 44.1N.m(3.5 ~ 4.5Kgf.m, 25.3 ~ 32.5 lb.ft)

Apply a few drops of oil to the special tool. (Boot contact part)
7.
Remove the lower arm (A) mounting bolt from the knuckle.

Tightening torque :
98.0 ~ 117.6N.m( 10.0 ~ 12.0Kgf.m,72.3 ~ 86.7lb.ft)

8.
Disconnect the drive shaft end (A) from the knuckle.

9.
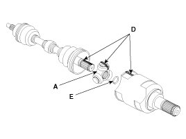
Remove the driveshaft assembly (A) from the inner shaft.

10.
Inner shaft mounting bolts and then disconnect the inner shaft (A).

11.
Insert a pry bar (A) between the transaxle case and joint case , and separate the driveshaft (B) from the transaxle case.

12.
Install in the reverse order of removal.
Use a pry bar (A) being careful not to damage the transaxle and joint.
Do not insert the pry bar(A) too deep, as this may cause damage to the oil seal.
Do not pull the driveshaft by excessive force it may cause components inside the joint kit to dislodge resulting in a torn boot or a damaged bearing.
Plug the hole of the transaxle case with the oil seal cap to prevent contamination.
Support the driveshaft properly.
Replace the retainer ring whenever the driveshaft is removed from the transaxle case.
13.
Check the alignment. (Refer to SSgroup 'Tires/Wheels - alingment')
Inspection
1.
Check the driveshaft boots for damage and deterioration.
2.
Check the ball joint for wear and damage.
3.
Check the splines for wear and damage.
4.
Check the dynamic damper for cracks, wear and position.

5.
Check the driveshaft for cracks and wears.
Disassembly
Do not disassemble the BJ assembly.
Special grease must be applied to the driveshaft joint. Do not substitute with another type of grease.
The boot band should be replaced with a new one.
1.
Remove the circlip (B) from driveshaft splines (A) of the transaxle side VTJ case.

2.
Remove the both boot clamps from the transaxle side VTJ case. Using a flat-tipped (-) screwdriver, remove the both clamps of the transaxle side.

3.
Pull out the boot from the transaxle side joint (VTJ).
4.
While dividing joint boot (A) of the transaxle side, wipe the grease in VTJ case (B) and collect them respectively.

-
Be careful not to damage the boot.
-
According to below the illustrated, put marks (D) on roller of spider assembly (A), VTJ case (B) and spline part (C), for providing assembly.

5.
Using a snap ring plier or flat-tipped (-) screwdriver, remove the circlip (A).

6.
Remove the spider assembly (B) from the driveshaft (A) using the special tool (09495-33000).

7.
Clean the spider assembly.
8.
Remove the boot (A) of the transaxle side joint (VTJ).
For reusing the boot (A), wrap tape (B) around the driveshaft splines (C) to protect the boot (A).

9.
Using a plier or flat-tipped (-) screwdriver, remove the clamp (B) of the dynamic damper (A).

10.
Fix the driveshaft (A) with a vice (B) as illustrated.

11.
Apply soap powder on the shaft to prevent being damaged between the shaft spline and the dynamic damper when the dynamic damper is removed.
12.
Saperate the dynamic damper (A) from the shaft (B) carefully.

13.
Using a plier or flat-tipped (-) screwdriver, remove the clamp on the side of wheel.

14.
Pull out the joint(BJ) on the side of wheel into the transaxle direction. Be careful not to damage the boot.
Reassembly
1.
Wrap tape around the driveshaft splines (VTJ. side) to prevent damage to the boots.
2.
Apply grease to the driveshaft and install the BJ boots.
3.
Install the bands to both BJ boots.

4.
To reassemble the dynamic damper (A), keeping the shaft (B) in the straight, tighten the dynamic damper (A) with dynamic damper band (C), as the illustration.

5.
Install the VTJ boot bands and VTJ boot.
6.
Install the spider assembly (A) and the circlip (E) to the spline (C) on the driveshaft.
At this time align the marks (D) each other.

7.
Install the clip to the VTJ case (B).
8.
Add the specified grease to the VTJ as mush as wiped away at inspection.
9.
Install the VTJ boots.
10.
Install the bands to both VTJ boots.
11.
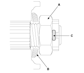
Using the SST(09495-3K000), secure the boot bands.

Clearance (A) : 2.0 mm (0.079 in.) or less

12.
To control the air in the VTJ boot, keep the specified distance between the boot bands when they are tightened.
Distance (A)
LH side
RH side
Gasoline 2.0/2.4 AT
2WD(mm)
536.6
+26.8/-20.2
827.5
+26.8/-20.2
Gasoline 2.0/2.4 AT
4WD(mm)
536.6
+26.8/-20.2
511.4 
+26.8/-20.2
Gasoline 2.0 MT
2WD(mm)
557.9
+26.8/-20.2
839.7
+26.8/-20.2
Gasoline 2.0 MT
4WD(mm)
511.4
+26.8/-20.2
Gasoline 2.4 MT
2WD(mm)
542.0
+26.8/-20.2
855.4
+26.8/-20.2
Gasoline 2.4 MT
4WD(mm)
511.4
+26.8/-20.2