TUCSON(LM) >2012 > G 2.4 DOHC > Body (Interior and Exterior) > Seat & Power Seat > Front Seat>Repair procedures  
Replaccement
Seat Assembly Replacement
1.
Remove the seat mounting cover.
2.
After loosening the seat assembly mounting bolts, remove the seat assembly (A).

Tightening torque :
44.1 ~ 58.8N.m (4.5 ~ 6.0kgf.m, 32.5~43.4lb-ft)

3.
Disconnect the connector (A), and wirering (B).

4.
Installation is the reverse of removal.
Be sure to perform PODS re-zero with the GDS after replacing parts (passenger's) (Refer to page RT-Airbag)
SEAT MOUNTING BOLT INSTALLATION PROCEDURE
Set the into the most rearward position. Check then each slide is locked, and then Tighten the front mounting bolt temporarily.
Set the seat into most forward position. Check that each slide is locked, and then Tighten the rear mounting bolt completely.
Set the seat into the most rearward position. Check the front mounting bolt completely.
Check that the seat operates to and fro smoothy and the locking portion locks properly.
Shield Cover Replacement
1.
Remove the silde switch (A) and recliner switch (B).

2.
Using a screwdriver, remove the front shield cover (A).

3.
Using a screwdriver, remove the shield cover (A).

4.
Disconnect the connector (A).

5.
Installation is the reverse of removal.
Be sure to perform PODS re-zero with the GDS after replacing parts (passenger's) (Refer to page RT-Airbag)
Seat Back Replacement
Replace the seat back assembly if active head rest system is equipped.
1.
Remove the front seat assembly.
2.
Remove the headrest.
3.
Push the clips (B) from the seat back cover (A).
Push the middle area of clip using the flat head screwdriver.
Be careful not to damage the clip.

4.
Push the hooks (A), from the seat back frame.

5.
Disconnect the connector (A) mounting clip.

6.
Pull out the headrest guides (A) while pinching the end of the guides, and remove them.

7.
Remove the seat back from the frame.
8.
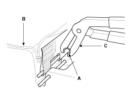
After removing the hogring clips (B) on the front of seat back and remove the seat back cover (A).

9.
Installation is the reverse of removal.
To prevent wrinkles, make sure the material is stretched evenly over the cover (B) before securing the hogring clips (A).
Replace the hogring clips with new ones using special tool (C) (09880-4F000).

Be sure to perform PODS re-zero with the GDS after replacing parts (passenger's) (Refer to page RT-Airbag)
Seat Cushion Cover Replacement
1.
Remove front seat assembly.
2.
Remove the shield cover.
3.
Push the hook (A), remove the seat cushion (C).

4.
Disconnect the connector (A).

5.
After removing the hogring clip (B) on the front of seat cushion and remove the seat cushion cover (A).
When removing the hog-ring clip, remove the hog-ring clip with pressing the wire not to separate the wire from the sponge.

6.
Installation is the reverse of removal.
To prevent wrinkles, make sure the material is stretched evenly over the cover (B) before securing the hogring clips (A).
Replace the hogring clips with new ones using special tool (C) (09880-4F000).

Be sure to perform PODS re-zero with the GDS after replacing parts (passenger's) (Refer to page RT-Airbag)
Seat Frame Replacement
1.
Remove the following items:
A.
Front seat assembly
B.
Seat back
C.
Seat cushion
D.
Headrest
2.
After loosening the mounting screw, then remove the front inside shield cover (A).

3.
After loosening the mounting bolts, then disconnect the seat back frame (A) and seat cushion frame (B).
Remove the side air bag for replacing side air bag installation seat.
Before service, be fully aware of precautions and service procedure relevant to air bag (Refer to page RT-Airbag)

Tightening torque :
44.1 ~ 58.8 N.m (4.5 ~ 6.0 kgf.m, 32.5 ~ 43.4 lb-ft)

4.
Installation is the reverse of removal.
Be sure to perform PODS re-zero with the GDS after replacing parts (passenger's) (Refer to page RT-Airbag)