TUCSON(LM) >2012 > G 2.4 DOHC > Driveshaft and axle > Rear Axle Assembly > Rear Hub - Carrier>Repair procedures  
Replacement
1.
Loosen the wheel nuts slightly. Raise the vehicle, and make sure it is securely supported.
2.
Remove the rear wheel and tire (A) from rear hub.

Tightening torque :
88.2 ~ 107.9 N.m(9.0 ~ 11.0 Kgf.m , 65.0 ~ 79.5 Ib.ft)

Be careful not to damage to the hub bolts when removing the rear wheel and tire (A).
3.
Remove the brake caliper mounting bolts , and then place the brake caliper assembly (B) with wire.

Tightening torque :
78.4 ~ 98.0N.m(8.0 ~ 10.0Kgf.m, 57.8 ~ 72.3lb.ft)

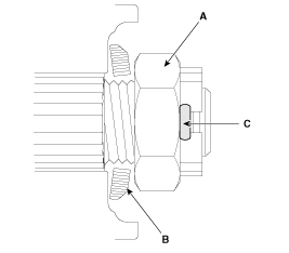
4.
Remove castle nut (A) from the front hub under applying the break.

Tightening torque :
196.1 ~ 274.5N.m(20.0 ~ 28.0Kgf.m, 144.6 ~ 202.5lb.ft)

The washer (B) should be assembled with convex surface outward when installing the castle nut (A) and split pin (C) Also, don't reuse split pin (C) when reassembling.

5.
Remove the rear brake lining assembly (A).(Refer to BR group-Rear brake)

6.
Remove the parking brake cable (B) from the brake shoe (A).

7.
Remove the parking brake cable retaining (B), from the parking brake cabel (A).

8.
Remove the wheel speed sensor (A), from the knuckle.

Tightening torque :
6.8 ~ 10.8N.m( 0.7 ~ 1.1Kgf.m,5.1 ~ 7.9lb.ft)

9.
Remove the assist arm (A) from the rear axle carrier.

Tightening torque :
137.2 ~ 156.9N.m(14.0 ~ 16.0Kgf.m,101.2 ~ 115.7 lb.ft)

10.
Remove the trailing arm (B) from the rear axle carrier.

Tightening torque :
34.3 ~ 53.9N.m( 3.5 ~ 5.5Kgf.m,25.3 ~ 39.7lb.ft)

11.
Remove the upper arm (A) from the rear axle carrier.

Tightening torque :
98.0 ~ 117.6N.m( 10.0 ~ 12.0Kgf.m,72.3 ~ 86.7lb.ft)

12.
Push the rear axle carrier outward and separate the driveshaft (A) from the axle hub .

13.
Remove the lower arm (A) from the rear axle carrier(B).

Tightening torque :
137.2 ~ 156.9N.m( 14.0 ~ 16.0Kgf.m,101.2 ~ 115.7lb.ft)

14.
Install in the reverse order of removal.
15.
Check the alignment. (Refer to SSgroup 'Tires/Wheels - alingment')
Inspection
1.
Check the hub for cracks and the splines for wear.
2.
Check the brake disc for scoring and damage.
3.
Check the rear axle carrier for cracks
4.
Check the bearing for cracks or damage.