1. |
Loosen the wheel nuts slightly.
Raise the vehicle, and make sure it is
securely supported. |
2. |
Remove the front wheel and tire (A) from front
hub.
Tightening
torque :
88.2 ~ 107.8 N.m(9.0 ~ 11.0 Kgf.m, 65.0
~ 79.5 Ib.ft)
|

Be careful not to damage to the hub
bolts when removing the front wheel and tire
(A). | |
3. |
Remove the brake caliper mounting bolts, and
then place the brake caliper assembly (B) with wire.
Tightening
torque :
78.4 ~ 98.0N.m(8.0 ~ 10.0Kgf.m, 57.8 ~
72.3lb.ft)
|

|
4. |
Remove castle nut (A) from the front hub under
applying the break.
Tightening
torque :
196.1 ~ 274.5N.m(20.0 ~ 28.0 Kgf.m,
144.6 ~ 202.5 lb.ft)
|

The washer (B) should be assembled with
convex surface outward when installing the castle nut (A) and
split pin (C) Also, don't reuse split pin (C) when
reassembling. |

|
5. |
Remove the wheel speed sensor
(B).
Tightening
torque :
6.8 ~ 10.8N.m( 0.7 ~ 1.1Kgf.m,5.1 ~
7.9lb.ft)
|

|
6. |
Remove the tie rod end ball joint(C) from the
knuckle.
(1) |
Remove the split pin
(A). |
(2) |
Remove the castle nut (B).
Tightening torque :
34.3 ~ 44.1 N.m(3.5 ~ 4.5 Kgf.m,
25.3 ~ 32.5 lb.ft)
|

| |
7. |
Remove the lower arm (A) mounting bolt from
the knuckle.
Tightening
torque :
98.0 ~ 117.6 N.m( 10.0 ~ 12.0 Kgf.m,
72.3 ~ 86.7lb.ft)
|

|
8. |
Disconnect the drive shaft end (A) from the
knuckle.

|
9. |
Loosen the strut mounting bolts and then
remove the hub and knuckle assembly
(A). |
Tightening torque
:
137.2 ~ 156.9 N.m(14.0 ~ 16.0 Kgf.m, 101.2 ~
115.7 Ib.ft)
|

Be careful not to damage the boot and rotor
teeth. |
1. |
Install in the reverse order of
removal. |
2. |
Check the alignment. (Refer to SSgroup
'Tires/Wheels - alingment') |
1. |
Check the hub for cracks and the splines for
wear. |
2. |
Check the brake disc for scoring and
damage. |
3. |
Check the knuckle for
cracks |
4. |
Check the bearing for cracks or
damage. |
1. |
Using the snap ring pliers, remove the snap
ring (A).

|
2. |
Remove the hub assembly from the knuckle
assembly.
(1) |
Install the front knuckle assembly (A)
on press. |
(2) |
Lay a suitable adapter (B) upon the hub
assembly shaft.

| |
3. |
Remove the dust cover (A).

|
4. |
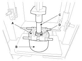
Remove the hub bearing inner race from the hub
assembly
(1) |
Install a suitable tool (A) for removing
the hub bearing inner race on the hub
assembly. |
(2) |
Lay the hub assembly and tool (A) upon a
suitable adapter (B). |
(3) |
Lay a suitable adapter (C) upon the hub
assembly shaft. |
(4) |
Remove the hub bearing inner race (D)
from the hub assembly by using press.

| |
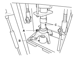
5. |
Remove the hub bearing outer race from the
knuckle assembly.
(1) |
Lay the hub assembly (A) upon a suitable
adapter (B). |
(2) |
Lay a suitable adapter (C) upon the hub
bearing outer race. |
(3) |
Remove the hub bearing outer race from
the knuckle assembly by using press.

| |
6. |
Replace hub bearing with a new
one. |
1. |
Install the dust cover (A).

|
2. |
Install the hub bearing to the knuckle
assembly.
(1) |
Lay the knuckle assembly (A) on
press. |
(2) |
Lay a new hub bearing upon the knuckle
assembly (A). |
(3) |
Lay a suitable adapter (B) upon the hub
bearing. |
(4) |
Install the hub bearing to the knuckle
assembly by using press.

Do not press against the inner
race of the hub bearing because that can cause damage to
the bearing assembly.
Always use a new wheel bearing
assembly. | | |
3. |
Install the hub assembly to the knuckle
assembly.
(1) |
Lay the hub assembly (A) upon a suitable
adapter (B). |
(2) |
Lay the knuckle assembly (C) upon the
hub assembly (A). |
(3) |
Lay a suitable adapter (D) upon the hub
bearing. |
(4) |
Install the hub assembly (A) to the
knuckle assembly (C) by using press.

Do not press against the inner
race of the hub bearing because that can cause damage to
the bearing
assembly. | | |
4. |
Install the snap ring (A).

| |